一、產品簡介
LXG-40~300, LXGR-40~30系列農用灌溉水表用于記錄大流量管道的用水量,適用于單向水流的自來水、井水、河水、湖水灌溉,也可用于污水的計量,不宜測量有腐蝕性的液體,其生產標準為ISO4064(GB/T778-2007)。
二、產品特點
1. 指示機構采用磁傳結構,具有防磁干擾功能。
2. 干式計數器,采用真空封裝,可防冷凝霧化,長期保持清晰讀數。
3. 六位數加大數字字輪顯示讀數,讀數更清楚。
4. 可拆卸式計量機芯結構,不需要把水表的表殼從管道上拆下,更換維修方便。
5. 被測水流方向為軸向水流,流通能力大,壓力損失小,量程寬,抗水沖擊和抗污染能力強。
6. 農用灌溉水表適合用水量大且流量相對穩定的場合下使用。
7.采用高耐磨軸承系統(航空儀表用寶石軸承+ 高耐磨硬質合金軸)確保產品長期穩定性和可靠性,顯著提高水表的流量。
8. 采用不銹鋼緊固件及環氧樹脂粉末殼體內外噴涂,有效防銹,延長產品使用壽命。
9. 可選防撬保護外罩。(阻止用戶私自拆開機芯,破壞或改動測量機構,有效起到防盜水作用)。
10. 水表需要水平安裝。
11. 需外加過濾器。
12. 水表的進水和出水口需要直管段。
13. 可適用于冷水≤50℃或者熱水≤90℃。
14. 水壓≤1MPa,1.6MPa。
15. 農用灌溉水表可根據用戶要求增加遠傳脈沖輸出功能。
三、流量技術參數
| 公稱口徑 DN | 計量等級 | 最大流量 Qs | 常用流量 Qp | 分界流量 Qt | 最小流量 Qi | 最小讀數 | 最大讀數 |
| mm | R | m3/h | m3 | ||||
| 40 | A | 20 | 10 | 1 | 0.4 | 0.0002 | 999999 |
| 50 | A | 30 | 15 | 4.5 | 1.2 | 0.0002 | 999999 |
| 65 | A | 50 | 25 | 7.5 | 2 | 0.0002 | 999999 |
| 80 | A | 80 | 40 | 12 | 3.2 | 0.002 | 999999 |
| 100 | A | 120 | 60 | 18 | 4.8 | 0.002 | 999999 |
| 125 | A | 200 | 100 | 30 | 8 | 0.002 | 999999 |
| 150 | A | 300 | 150 | 45 | 12 | 0.002 | 999999 |
| 200 | A | 500 | 250 | 75 | 20 | 0.002 | 999999 |
| 250 | A | 800 | 400 | 120 | 32 | 0.002 | 999999 |
| 300 | A | 1200 | 600 | 180 | 48 | 0.02 | 9999999 |
| 公稱口徑 DN | 計量等級 | 過載流量 Q? | 常用流量 Q? | 分界流量 Q? | 最小流量 Q? | 最小讀數 Min | 最大讀數 Max |
| mm | R | m3/h | m3 | ||||
| 40 | 20 | 20 | 16 | 3.2 | 0.8 | 0.0002 | 999999 |
| 50 | 20 | 31.25 | 25 | 5 | 1.25 | 0.0002 | 999999 |
| 65 | 20 | 50 | 40 | 8 | 2 | 0.0002 | 999999 |
| 80 | 20 | 78.7 | 63 | 12.6 | 3.15 | 0.002 | 999999 |
| 100 | 20 | 125 | 100 | 20 | 5 | 0.002 | 999999 |
| 125 | 20 | 200 | 160 | 32 | 8 | 0.002 | 999999 |
| 150 | 20 | 312.5 | 250 | 50 | 12.5 | 0.002 | 999999 |
| 200 | 20 | 500 | 400 | 80 | 20 | 0.002 | 999999 |
| 250 | 20 | 787 | 630 | 126 | 31.5 | 0.002 | 999999 |
| 300 | 20 | 1250 | 1000 | 200 | 50 | 0.02 | 9999999 |
四、最大允許誤差
?、俚蛥^(Q?≤Q<Q?)最大允許誤差為±5%
?、诟邊^(Q?≤Q≤Q?)最大允許誤差為±2%

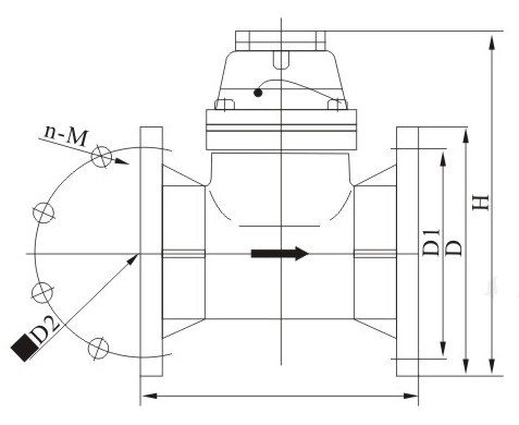
六、外形及規格尺寸

| 公稱口徑 DN | 長 L | 高 H | 法蘭外徑 D | 螺栓孔中心圓直徑 D1 | 法蘭螺栓 |
| mm | nxd | ||||
| 40 | 200 | 253 | 165 | 125 | 4xM16 |
| 50 | 200 | 253 | 165 | 125 | 4xM16 |
| 65 | 200 | 268 | 185 | 145 | 4xM16 |
| 80 | 225 | 284 | 200 | 160 | 8xM16 |
| 100 | 250 | 295 | 220 | 180 | 8xM16 |
| 125 | 250 | 310 | 250 | 210 | 8xM16 |
| 150 | 300 | 339 | 285 | 240 | 8xM20 |
| 200 | 350 | 382 | 340 | 295 | 8xM20 |
| 250 | 400 | 433 | 395 | 350 | 12xM20 |
| 300 | 450 | 483 | 445 | 400 | 12xM20 |